产品中心 Product
急救呼吸机AII6000A
来源:呼吸机品牌网 时间:2022-06-30 11:15:22
.通过颜色设定幼儿、儿童、成人模式与参数;
.独有中文语音智能导航系统,让医务人员轻松掌握;
.分钟通气量、呼吸频率可调;
.轻巧便携,主机重量≤590g;
.具有有创、无创通气模式,可-键切换;
.具有气道压力监测及报警功能、保障患者气道安全;
.具有IPPV、Demandflow (SPONT)通气模式,手动通气可选(AII6000M) ;
.通过欧盟EN1789院外车载测试,抗摔防震;
.标配可充电电池,连续使用时间≥12小时;
.可选配吸痰及面罩供氧功能。
知识产权侵权投诉:聚慕不生产产品所有产品均来自产品的生产、商、经销商,如有侵权请联系本公司,我们会在第一时间处理
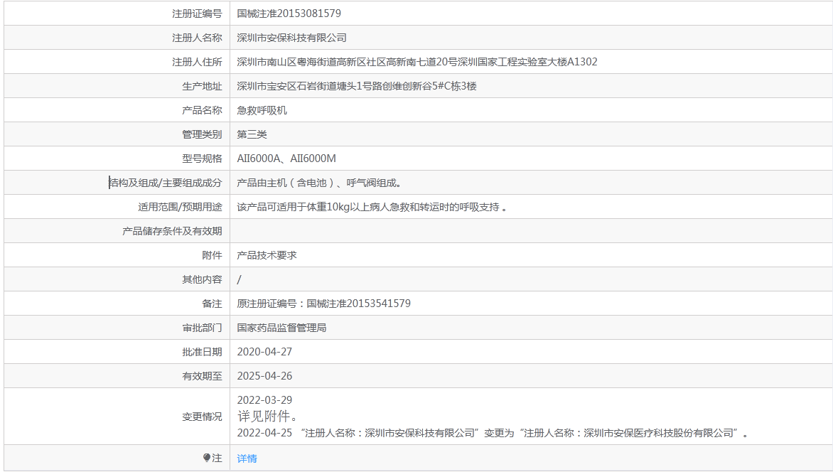
国械注准20153081579

上一篇:微清视力筛查仪VS-Plus
下一篇:没有了

