产品中心 Product
转运呼吸机AII6000B
来源:呼吸机品牌网 时间:2022-06-30 11:06:01
.适用于婴儿、儿童、成人,最小潮气量50ml;
.5.7寸防眩液晶,180度无死角,具备白天和夜晚显示模式;
.可选配远程数据传输功能,通过无线网络对呼吸机进行数据交互;
.独有中文语音智能导航系统,让医务人员轻松掌握;
.- -键设定,快速、便捷,提高抢救效率;
.可充电电池,连续使用时间≥8小时,可在线充电;
.具有AC、AC+SIGH、 SIMV、 SPONT. IPPV、 CPAP(AII6000B Plus)等各种通气模式;
.全面通气参数监测: FiO2、 MV、VT、气道压力、呼吸波形等;
.氧浓度连续可调,大幅延长气瓶使用时间;
.通过欧盟EN1789院外车载测试,抗摔防震;
.可选配EtCO2监测功能(AII6000B Plus),实时反馈患者呼吸抢救效果;
.采用瑞:士高精密电磁阀控制技术,性能卓越;
.可选配吸痰及面罩供氧功能。
知识产权侵权投诉:聚慕不生产产品所有产品均来自产品的生产、商、经销商,如有侵权请联系本公司,我们会在第一时间处理
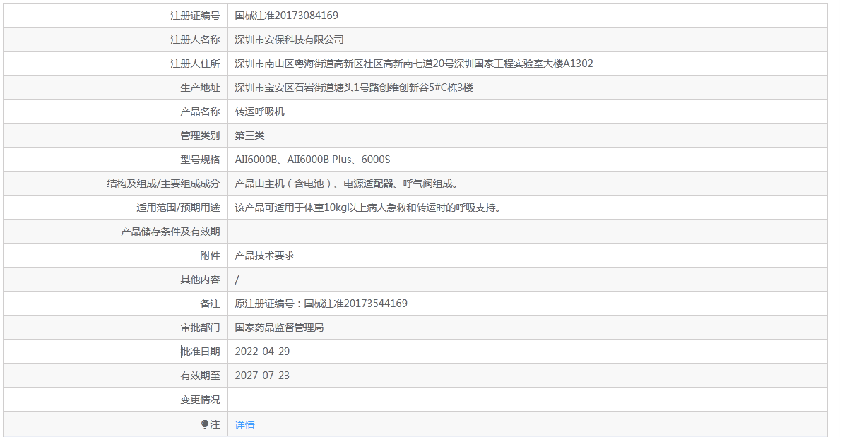
国械注准20173084169

上一篇:急救转运呼吸机T5

